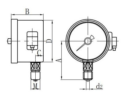
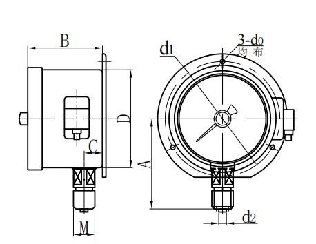
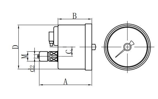
◆ Mô hình: YXD100 YXD150
◆ Sử dụng: Loại dụng cụ này là một thay thế cho đồng hồ đo áp suất tiếp xúc điện, nó vẫn giữ được những lợi thế của chỉ báo đo áp suất tiếp xúc điện là trực quan, dễ điều chỉnh và thiết bị đã cải thiện cơ bản, sử dụng cảm biến quang điện tích, thông qua bộ điều khiển cao, thông qua bộ điều khiển cao. Độ chính xác, đặc điểm chuyển đổi tuyệt vời. Nó được sử dụng rộng rãi trong dầu mỏ, công nghiệp hóa học, luyện kim, công nghệ năng lượng hạt nhân và quá trình chuyển đổi thường xuyên.
Thiết bị này phù hợp để đo và kiểm soát đáng tin cậy và đáng tin cậy đối với áp suất của chất lỏng, khí hoặc hơi mà không có nguy cơ bùng nổ, không kết tinh, không bị rắn và không ăn mòn đối với hợp kim đồng và đồng.
◆ Nếu cần phải tạo ra một đồng hồ đo áp suất loại gây sốc, thì nó có thể được lấp đầy bằng dầu glycerin hoặc silicon.





















